霸气网游公会

 找回密码
 加入霸气
查看: 3949|回复: 27

[处罚通告] 关于霸气╉浴血一刀、霸气╉归海一刀擅自违规使用管理员账号处罚决定

[复制链接]
发表于 2020-4-15 17:31:38 | 显示全部楼层 |阅读模式

欢迎加入霸气网游公会社区,马上注册,享用更多功能。

您需要 登录 才可以下载或查看,没有账号?加入霸气

x
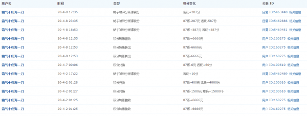
关于 霸气╉浴血一刀霸气╉归海一刀 擅自违规使用管理员(霸气╉魔法无边)账号调整账号积分一事处罚决定:

一、霸气╉浴血一刀  积分只保留1000活跃积分。(87币、筹码、军功、推广清零,签到天数扣中除添加的天数。)

二、霸气╉归海一刀  积分只保留1000活跃积分。(87币、筹码、军功清零,签到天数中扣除添加的天数。)

三、霸气╉魔法无边  作为管理员外借论坛账号,取消后台权限,只保留管理员用户组(主用户组:名人堂荣誉会员,扩展用户组:管理员)


AQ8)SDZW5`1BS3`MZ)`E%U8.png

C283@}%ORNSOHRQ_KY97[0D.png

$SOS4P@6NZ[~1(UC(X6$HCN.png

F3$S3ZBFVY)H4E{)VO11FYF.png

PSC9[O`IIB{H4}%G9KC4Y30.png


PS:希望各位论坛管理保管好自己的账号,引以为戒。

                                                                                                                  霸气网游公会论坛部
                                                                                                                                                    2020.04.15



回复

使用道具 举报

发表于 2020-4-15 17:33:19 | 显示全部楼层
希望各位管理员,版主,妥善保管好自己的论坛账号
回复 支持 反对

使用道具 举报

发表于 2020-4-15 17:53:55 | 显示全部楼层
`111111111111111111111
回复 支持 反对

使用道具 举报

发表于 2020-4-15 18:15:16 | 显示全部楼层
我是从来不外借
回复 支持 反对

使用道具 举报

发表于 2020-4-15 18:20:06 | 显示全部楼层
好惊险刺激,谁哪天给我也来这么多
回复 支持 反对

使用道具 举报

发表于 2020-4-15 18:23:23 | 显示全部楼层
重大事件呀
回复 支持 反对

使用道具 举报

发表于 2020-4-15 18:24:24 | 显示全部楼层
刺激啊,不是一般的刺激大事啊
回复 支持 反对

使用道具 举报

发表于 2020-4-15 18:58:30 | 显示全部楼层
路过 不发表评论
回复 支持 反对

使用道具 举报

发表于 2020-4-15 20:03:22 | 显示全部楼层
这波操作牛逼
回复 支持 反对

使用道具 举报

您需要登录后才可以回帖 登录 | 加入霸气

本版积分规则

Archiver|手机版|小黑屋|霸气网游公会 ( 蜀ICP备18016790号-3 )

GMT+8, 2025-12-23 00:10 , Processed in 0.069477 second(s), 17 queries , Gzip On.

Powered by Discuz! X3.4

Copyright © 2001-2021, Tencent Cloud.

快速回复 返回顶部 返回列表